Вроде выяснил, за что именно в России заблокировали мой сайт целиком: провайдеру в Норвегии пришло требование убрать два поста из моего блога.
В одном посте просто была цитата из Невзорова. В другом посте была цитата из статьи, которая сутки провисела на сайте Минобороны, а потом ее убрали, заявив о взломе.
Очевидно, что заблокировали по доносу. Тут любопытно то, что донос мог быть именно от старины Вильянова, который, как мне рассказали, грозился "обратить внимание компетентных органов" на те безобразия, которое происходит на моем сайте. Вильянов у нас нынче - как мне опять-таки рассказывали - один из главных участников загончика ушлёпков из культа. Раньше он туда приходил типа как пикироваться, но крепкая дружба постепенно переросла в настоящую любовь, так что теперь Сереженька там в первых рядах.
Что он мне, кстати, хотя и косвенно, но подтвердил, чтобы мне не говорили, что я на него, может, и зря наговариваю. Когда до меня вся эта информация дошла, я его напрямую спросил в мессенджере - он это или же его ЖЖ поломали ушлепки, и теперь от его имени постят всякую погань. Сереженька сообщение прочитал (оно же видно), но в лицо ответить, что это он, не смог - зассал. Ну, дело такое, я понимаю.
А доносы писать - дело такое, увлекательное. Ну и опять-таки - патриотичненькое.
Upd: Ага, теперь полностью заблокировали.
Все радуются "укрепившемуся" рублю и низкому курсу. Но мало кто в реальности понимает, почему это произошло и что, вообще говоря, означает.
В издании The Insider полезная для понимания происходящих процессов статья директора Банковского института НИУ ВШЭ Василия Солодкова - «Курс рубля отражает лишь отсутствие у нас рыночной экономики». Экономист Василий Солодков об «укреплении» рубля. Там без особого теоретизирования, просто чисто практически.
Укрепление рубля происходит по нескольким причинам. Во-первых, введена обязательная продажа экспортерами 80% валютной выручки и действуют ограничения на покупку валюты, прежде всего наличной. Есть также ограничения на перевод валюты за рубеж, то есть нерезиденты не могут получать доходы по тем ценным бумагам, которые они имели. Во-вторых, у нас катастрофически падает импорт по разным причинам (начиная от логистических и заканчивая тем, что кто-то нам просто перестает что-то продавать). И последнее: если раньше люди планировали отпуска и куда-то уезжали, то сейчас это сложно. Летать по факту можно в очень ограниченное количество стран, основные туристические хабы сейчас — это Турция и Дубай. При этом кратно увеличились цены на авиабилеты, и поэтому граждане планируют отпуска внутри РФ, не создавая спрос на валюту.
Низкий курс рубля отражает лишь то, что у нас сейчас нет нормальной рыночной экономики со свободным спросом и предложением.
Что делать обычным людям, у которых осталась валюта, — непонятно. Страшно и там, и сям. Вы можете держать ее на счете, но снять до 9 сентября получится всего $10 тысяч по тому курсу, который похож на биржевой. У нас валюта всегда использовалась как спасение от падения курса рубля и защита от инфляции. Но сейчас инфляция по доллару и евро приближается к 10%, чего не было уже десятилетия. Грубо говоря, за десять лет ваша сумма по итоговой инфляции сокращается в два раза при прочих равных условиях.
Использовать накопленную валюту в зарубежной поездке тоже непросто, поскольку для оплаты многих услуг нужна кредитная карта понятной платежной системы. Вы будете ходить с мешком денег и не будете знать, куда его пристроить.
С другой стороны, «сидеть в рублях» тоже рискованно. У нас с вами уже инфляция 17%. Если она и дальше будет расти, курс рубля развернется, а также будут введены валютные ограничения: то есть у вас валюта на счетах есть, но вы ее сможете снимать в рублях только по курсу, который вам установят (сейчас он низкий, но его могут сделать и высоким). С такой ситуацией российская экономика никогда не сталкивалась, и куда эта кривая приведет — бог его знает.
Российский парфюмерный бренд Phenomenon выпустил в продажу антивозрастной крем для лица "Превентивный удар". Способ применения: крем нужно превентивно наносить на то место, откуда на Беларусь готовилось нападение.
В описании к крему говорится, что он создан на основе грибов. И мы хорошо понимаем, на основе каких именно грибов его создали.
Полнейший какой-то цирк на льду. XXI век! Интернет, криптовалюты, "Тесла" улетела на Марс. А Додону взятку под видео таскают в кульке (В кульке, Петя!), и он указывает кулёк отдать некоему Косте.
Бывший президент Молдовы Игорь Додон задержан на 72 часа в рамках уголовного дела по статье о государственной измене. Об этом сообщила пресс-секретарь генеральной прокуратуры Марианна Кёрпек.
Во вторник утром Антикоррупционная прокуратура Молдовы и Служба информации и безопасности проводят обыски в доме Додона и ещё 11 помещениях, по подозрению в коррупции, незаконном обогащении и предательстве родины.
18 мая генеральная прокуратура Молдовы возбудила уголовное дело против Додона. Его заподозрили в получении взятки от молдавского олигарха Владимира Плахотнюка. Поводом стали видеозаписи, сделанные в 2019 году. На видео, снятом скрытой камерой, Плахотнюк пытался передать Игорю Додону, в то время действующему президенту, черный пакет. Додон к нему не прикасался, но сказал "опять вы с кульком" и попросил передать некоему "Косте". На видео Додон и Плахотнюк также обсуждают создание в парламенте коалиции, которая бы обладала конституционным большинством. По данным TV-8, Додон при этом говорил что "постоянно пишет записки Путину". (Отсюда.)
Статья в The Guardian - ¨YouTube removes more than 9,000 channels relating to Ukraine war".
YouTube удалил более 70 000 видео и 9 000 каналов, связанных с войной в Украине, за нарушение правил содержания, включая удаление видео, в которых вторжение называлось "освободительной миссией".
Платформа пользуется огромной популярностью в России, где, в отличие от некоторых американских аналогов, она не была закрыта, несмотря на размещение контента оппозиционных деятелей, таких как Алексей Навальный. YouTube также смог работать в России, несмотря на то, что пресекает прокремлевский контент, который нарушает правила, включая политику в отношении крупных событий, связанных с насилием, которая запрещает отрицать или тривиализировать вторжение.
С момента начала конфликта в феврале YouTube удалил несколько каналов, включая канал прокремлевского журналиста Владимира Соловьева. Также каналы, связанные с министерствами обороны и министерством иностранных дел России, в последние месяцы также были временно ограничены от загрузки видео за описание войны как "освободительной миссии".
Директор по продуктам YouTube Нил Мохан сказал: "У нас есть политика в отношении крупных насильственных событий, и это относится к таким вещам, как отрицание крупных насильственных событий: от Холокоста до Сэнди Хук. И, конечно, то, что происходит в Украине, является крупным насильственным событием. И поэтому мы использовали эту политику для принятия беспрецедентных мер".
В интервью Guardian Мохан добавил, что только в Украине новостной контент YouTube о конфликте набрал более 40 млн просмотров.
"Первая и, вероятно, самая главная ответственность - убедиться, что люди, которые ищут информацию об этом событии, могут получить на YouTube точную, качественную и достоверную информацию", - сказал он. "Потребление авторитетных каналов на нашей платформе значительно выросло, конечно, в Украине, но также и в странах, окружающих Украину, Польше, а также в самой России".
YouTube не предоставил список удаленного контента и каналов, но Мохан сказал, что большая часть из них представляла кремлевские нарративы о вторжении. "У меня нет конкретных цифр, но вы можете себе представить, что большая часть из них - это нарративы, исходящие от российского правительства или российских пропагандистов от имени российского правительства", - сказал он.
По оценкам, в России у YouTube 90 миллионов пользователей, хотя в стране больше не разрешена реклама на платформе. Решение материнской компании YouTube, Google, вызвало протест со стороны Навального, который заявил, что хорошо таргетированная реклама помогает противостоять кремлевской пропаганде.
"YouTube остается крупнейшим сайтом обмена видео, который работает в самой России", - сказал Мохан. "Таким образом, YouTube - это место, где российские граждане могут получить неподцензурную информацию о войне, в том числе от многих авторитетных каналов, к которым мы все имеем доступ за пределами страны. Мы остаемся важной платформой для самих российских граждан, поскольку этот кризис продолжает развиваться".
На прошлой неделе министр цифрового развития России Максут Шадаев заявил, что страна не будет блокировать YouTube, несмотря на споры о контенте, в результате которых платформа была оштрафована в суде за неудаление запрещенных видео.
Шадаев отметил, что блокировка самой популярной в России платформы социальных сетей негативно скажется на пользователях. "Мы не планируем закрывать YouTube", - сказал министр. "Прежде всего, когда мы что-то ограничиваем, мы должны четко понимать, что наши пользователи не должны пострадать".
YouTube также ввел всемирный запрет на каналы, связанные с российскими государственными СМИ, включая Russia Today и Sputnik.
Честно говоря, мне не очень понятно, почему в России до сих пор не заблокировали YouTube. Весь этот лепет Шадаева о том, что, мол, "пользователи не должны пострадать" - он вообще непонятно на кого рассчитан. С блокировкой Instagram пострадало огромное количество пользователей, причем у многих из них был разрушен бизнес, который они строили много лет.
Так что причины, почему YouTube не блокируют, никак не связаны с "заботой о пользователях".

Я уже делал обзоры самых популярных умных часов на рынке - это прежде всего Huawei Watch GT 3 и Amazfit GTR 3 Pro. Также я сделал обзор интересной модели от компании Garmin - часов Garmin Venu 2, которые имеют дисплей AMOLED. Ну и познакомился с новыми Samsung Galaxy Watch 4, которые на Wear OS, а не на Tizen OS. Huawei Watch GT 3 и Amazfit GTR 3 Pro - недешёвые, они сейчас стоят порядка 20 тысяч. При этом на рынке есть еще одна, вполне заслуживающая внимания модель умных часов, которая стоит в два раза дешевле - это Xiaomi Mi Watch. Ну и давайте в данном обзоре с ними и познакомимся, а заодно сравним их с Huawei Watch GT 3 и Amazfit GTR 3 Pro, чтобы понять, имеет ли смысл переплачивать.
Невинноубиенный Бабченко в своем репертуаре: сначала тупо соврем, затем как следует передернем, после этого перевернем все с ног на голову, ну и в итоге разразимся криками-воплями так, чтобы слюни во все стороны - народ это любит.
Мне, в общем-то, совершенно пофиг, по поводу чего там Бабченко в очередной раз истерит, но мне ссылку на этот пост присылали несколько раз и просили прокомментировать. Ну, давайте прокомментирую.
На этот раз Бабченко разразился по поводу гадостных русских либералов. Орал он по поводу Каспарова, но походя пнул еще и Латынину с Ходорковским, по поводу которых тоже прогнал какую-то дикую пургу.
Вот чем Бабченко разразился, цитирую:
Ох, господи.... Все-таки они ломаются. Все. Кто раньше. Кто позже. Но, в итоге, все. Всегда. На Крымском вопросе. Обязательно. Неизбежно. Просто кто-то ломается сразу. Кто-то держится десять лет. Но в итоге все равно ломаются все. Каждый русский либерал. Даже если он бакинский еврей.
Гарри Каспаров на «Антивоенном комитете» говорит, что необходимо защищать русских Крыма во время депортации, которую будут проводить украинские войска.
Ох, блять… Гарри Кимович. Каспаров. Умнейший человек. Чемпион мира. Либерал. Все понимающий кристально ясно. Один из самых порядочных людей.
И один черт - «защищать русских в Крыму».
Как там было-то: «Да, вам не нравятся средства. Но вы поддерживаете цель».
А цель у них у всех одна. Великая Россия.
Вместо того, чтобы делать все, чтобы уничтожить этот Четвертый Недорейх, чтобы эта тюрьма народов была разрушена, они прилагают все усилия, чтобы сохранить «хороший русский мир». Это сейчас цитата.
И вот Ходорковский выходит из тюрьмы, и говорит, что будет воевать за порабощение Чечни.
Сева Новгородцев идет работать на канал Медведчука и рассказывает про притеснения Гужвы.
Латынина собирается что-то там строить новую Россию в Украине.
Гарри Кимович создает «Антивоенный комитет», и, вместо того, чтобы на разрыв кишки помогать украинской армии, которая единственная реально и воюет с вашим Путиным, будет защищать русских Крыма от бесчинств украинской армии. Вместо того, чтоб защищать украинцев от бесчинств русской.
Вместо того, чтобы, пользуясь уникальным случаем, который история представляет раз тк примерно в сто лет, после очередной чудовищной войны, вычистить все это победоносное говно к дедам воевалам в Бугульму - и мир, и Генассамблея, и ПАСЕ, и СПЧ, и ООН, и Гаага это проглотят на ура, точнее, закроют глаза, и сделают вид, что ничего не заметили - разговоры о том, что Путин русских Крыма защищать не будет.
Поэтому это должны сделать мы. Русские либералы. На Антивоенном комитете.
Защищать граждан России от переезда в Россию...
И все это как-то уживается в одних логических координатах.
Ох, блядь… Гарри Кимович, Гарри Кимович… Что ж ты делаешь-то...
Ну, и бонусом продвижение прогрессивного русского языка в Украине.
Ну, пол-Африки говорит же на французском.
Почему бы и половине Украины не говорить на русском языке «хороших русских».
А как иначе-то.
Ох, блять…
Подписывайтесь на меня на Патреон.
Я похоже, один адекватный остался.
Один он, понимаешь, адекватный остался. Остальные все неадекватные, все. (Видимо, потому что не умеют так орать, чтобы слюни во все стороны.)
В качестве иллюстрации к своей очередной истерике Аркаша приводит маленький кусочек из выступления Каспарова на "Второй антивоенной конференции", которая прошла в Вильнюсе 20 мая этого года. Да-да, где говорили о статусе "хороших русских", и это потом также активно обсуждалось в Сети, причем обсуждалась сама формулировка (очень неудачная, как я считаю), а не то, что под этим подразумевалось и то, что вообще говорилось.
Я, в отличие от Аркаши, которому явно прислали только этот кусочек, прослушал всё выступление (а точнее все выступления, потому что конференция шла более 8 часов) Каспарова. В основном Каспаров как раз и говорил о том, что этот "Четвертый Недорейх" должен быть уничтожен, что окончанием войны должен стать возврат Украины всех своих захваченных территорий и поднятие украинского флага над Севастополем. Также он говорил о том, что те русские, которые против войны в Украине, против Путина и против того фашистского строя, который Путин создал в России, должны иметь какое-то свое представительство, и кто-то должен защищать их права, потому что никакой Путин никакие права никаких русских защищать, понятное дело, не будет.
В приведенном Аркашей куске Гарри Кимович действительно как-то достаточно невнятно начал выражать свои мысли, и это можно было толковать двояко, чем Аркаша, как ему это свойственно, и воспользовался. Но вот чего там не было в упор - так это про продвижение русского языка в Украине. Он говорил только о том, что на каком языке украинцы захотят - на таком и будут говорить, это их личное дело. (Про половину Африки, которая говорит на французском, он, конечно, совершенно зря сказал, пример был явно не в кассу, тут не спорю.)
В общем, все как обычно. Прогоны, истерики, передергивание и откровенное вранье.
Вот видеозапись всей конференции. Тот кусок, который приводит Бабченко, начинается на этой отметке - 02:45:40. Но для полноты впечатления рекомендую послушать основное выступление Каспарова - оно там указано в тайминге.
Клип со всякими экстремальными видами спорта. Снято и смонтировано просто потрясно, на мой взгляд.
Вот он, бездуховный капиталистический мир чистогана!
Группа миллионеров потребовала от мировых лидеров, приехавших на Давосский экономический форум, обложить их новыми налогами, чтобы сократить глобальное неравенство.
"Наши правительства по-прежнему ничего не делают для преодоления вопиющего неравенства. Вместо этого они встречаются за закрытыми дверями, участвуя в выставке частных богатств. В этом году ещё четверть миллиарда человек окажутся в условиях крайней нищеты. Пришло время сбалансировать мир. Пришло время обложить налогом богатых", – сказала Марлен Энгельхорн, одна из протестующих миллионеров.
Акцию организовали участники группы "Патриотические миллионеры". Группа впервые собралась в США в 2010 году, чтобы потребовать отменить налоговые льготы для богатых, введённые бывшим президентом США Джорджем Бушем-младшим. С тех пор к организации присоединились более 200 состоятельных людей. Миллионеры выступают среди прочего за повышение минимальной оплаты труда и совершенствование прогрессивной налоговой шкалы.
Традиционный экономический форум в швейцарском Давосе открылся 22 мая 2022 года. В сессиях примут участие более двух тысяч человек – выступят представители политических и бизнес-элит, в том числе лидеры государств.
Одной из главных тем саммита станет война в Украине и её последствия. Участников из России на форум не пригласили, а "Русский дом" в Давосе переименовали в Дом военных преступлений России. (Отсюда.)
Медведчук дает показания - "Медведчук дал показания против Порошенко – СБУ".
Интересная там была схема - выдержки.
Кум Путина нардеп Виктор Медведчук, которому выдвинуто подозрение в государственной измене и содействии терроризму, рассказал о схеме вывода из государственной собственности части магистрального нефтепродуктопровода "Самара – Западное направление" для дальнейшей прокачки через него дизельного топлива.
СБУ публикует видео признаний политика Описывая сущность схемы, Медведчук детализировал роль в ней бывшего президента Петра Порошенко. А именно, что тот, мол, не только обратился к Медведчуку с просьбой связаться с руководством РФ, но и обеспечил принятие необходимых решений во всех украинских инстанциях.
Таким образом, задержанный уверяет, что вопросами трубопровода он занимался по просьбе экспрезидента, сообщает СБУ. И, наконец, за год работы трубопровод заработал для его владельцев вдвое больше средств, чем было вложено в его выкуп – до 42 млн долларов США. А с мая 2019 года, то есть после прекращения полномочий Порошенко, прокачка дизеля через магистраль прекратилась.
Кроме того, Медведчук рассказал детали отладки в 2014-2015 годах механизма закупки угля для нужд энергетики Украины на временно оккупированных территориях так называемых "Л/ДНР", практически – у главарей боевиков.
"В этом была задействована фактически вся верхушка государственного аппарата, начиная с президента и заканчивая министрами, стражами порядка и теми, кто непосредственно реализовывал эту схему", – пояснил задержанный.
Я уже писал о Дмитрии Шкребце - отце срочника, погибшего на крейсере "Москва", и о том, какой ответ он получил от военной прокуратуры в ответ на свой вопрос.
Дмитрий продолжает вести свою страницу во Вконтакте, где достаточно жестко высказывается на всякие темы, связанные с гибелью крейсера и гибелью моряков, бывших на нем, а также временами "возносит хулу" на высших должностных российских лиц, включая даже, страшно сказать, самого Обнуленного. Похоже, что Дмитрию просто нечего больше терять. При этом, что характерно, судя по его странице, раньше Дмитрий был пламенный патриот и запутинец.
Мы с женой по выходным освоили пешие прогулки по холмам - надоело гулять одними и теми же маршрутами вдоль моря. К тому же по холмам - нагрузка совсем другая, потому что холмы достаточно крутые, это тебе не по променаду прогуливаться. В прошлые выходные забрались к часовне Ermita de Sant Andreu de l'Arboceda, а туда больше четырех километров вверх на высокий холм. Я, честно говоря, не ожидал, что я вообще на такое способен. Но, видать, многолетние ежедневные прогулки, скандинавская ходьба, велосипед - сделали свое дело, так что теперь я такое вполне могу осилить.
Но, собственно, дело не в этом. Вчера шли по очередному новому маршруту, и обнаружили, что у многих деревьев, растущих на холме, снизу ободрана кора где-то на высоту в метр-полтора. Кто в курсе - зачем это вообще делается? Это же не пробковые дубы, что потом делать с этой корой? А таких деревьев там - полно.
Ривер Картрайт (Джек Лауден), внук отставного спецслужбиста Дэвида (Джонатан Прайс), подавал большие надежды в качестве оперативника британской службы контрразведки MI5, однако провалил тестовое задание в аэропорту Хитроу, в результате чего "террористу" удалось "взорвать бомбу" в людном месте. После такого прокола Ривера сослали работать в печально известный отдел "Хромые кони", находящийся в здании под названием "Слау хаус" - именно туда отправляют работать сотрудников MI5, которые каким-то образом облажались.
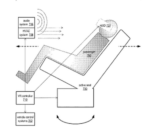
Интересная новость. Неужели и правда решат проблему укачивания?
Apple зарегистрировала в Ведомстве США по патентам и товарным знакам патент на автомобильную развлекательную систему в формате виртуальной реальности. Предполагается, что это обеспечит совершенно новый опыт поездок и решит проблему укачивания в автомобиле.
Согласно описанию патента, пассажиры автомобиля от Apple смогут использовать гарнитуру виртуальной реальности, которая будет синхронизироваться с наружными камерами транспортного средства. Дополнительно будут учитываться движение и ускорение машины. В документе указывается, что это поможет людям, которых укачивает в дороге.
Кроме того, технология также подойдёт для просмотра видео и чтения книг в стабилизированной среде, а также для участия в виртуальных встречах прямо в дороге. Другие подробности пока не раскрываются. Хотя нет никакой гарантии, что Apple всё же реализует данную идею.
По имеющейся информации, Apple выпустит свой дебютный автомобиль примерно в 2025 году. Предполагается, что его разработка ведётся с 2014-го. (Отсюда.)
Ролик довольно старый, в 2018 году опубликован, но мне раньше не попадался. Mark Omaco сделал ролик с видеорядом под стихотворение Иосифа Бродского "Пилигримы" и сам начитал текст стихотворения. Получилось, на мой взгляд, здорово.
Москва. 21 мая. INTERFAX.RU - В Москве намерены изучить вопрос возможности обмена задержанного Службой безопасности Украины политика Виктора Медведчука на украинских пленных, заявил член переговорного процесса, председатель комитета Госдумы по международным делам и глава фракции ЛДПР Леонид Слуцкий.
"Мы изучим вопрос возможности обмена Медведчука на азовцев. Не мы - ЛДПР, а те люди в Москве, которые имеют такие полномочия", - заявил Слуцкий в субботу на пресс-конференции в Донецке, отвечая на соответствующий вопрос "Интерфакса". (Отсюда.)
Лёнька Вова Соловьев, что характерно, не одобрил! Изошелся на свою традиционную субстанцию. Субстантивно, так сказать, высказался.
И смотрите, как ловко передергивает. Это, мол, не Слуцкому с ЛДПР решать. Так Слуцкий об этом прямо и говорит - принимать решение будут люди, обладающие полномочиями.
Также не очень понятны заявления Соловьева про "какого-то там Медведчука, который, к тому же, еще и гражданин Украины". Соловьев что - не в курсе, кем Виктор Владимирович приходится Владимир Владимировичу, соловьевскому же верховному патрону? Что за крамола такая в устах главного кремлевского пропагандона? Нехорошо.
Ну и про "наели себе рожи" - тоже очень понравилось. Прям трогательно. Чья бы корова, как говорится...
Ну слава богу! Им все-таки удалось наладить бесперебойные поставки кокса, всё в порядке!
Вопрос: Мы здесь, в нашей стране, чувствуем подъем патриотизма. А друзья и родные из-за границы говорят нам, что мы — это отражение романа «1984». Что им ответить?
Ответ Захаровой: «Много лет мы считали, что Оруэлл описал тоталитаризм. Это один из глобальных фейков.
Оруэлл писал про конец либерализма. Он написал, как либерализм заведет человечество в тупик. Он не писал про СССР, он писал про общество, в котором жил, про крах идеи либерализма. А вам навязывали, что он писал о вас.
Поэтому скажите, что он писал не про нас, а про них. Это вы за рубежом живете в фантастическом мире, где можно человека отменить». (Отсюда.)
Гениально, да?
P.S. Вообще, конечно, Маше хорошо бы это произведение хоть раз прочитать, но я, если честно, не уверен, что она этим полезным навыком сумела овладеть.
Концерт группы Кис-Кис, Санкт-Петербург, вчера, 20 мая. Видео выложил в своем телеграм-канале журналист Роман Супер.
Что-то мне как-то тревожно стало. Неужели не все молодые россияне поддерживают миротворческую гуманистическую спецоперацию Великого Стратега?
Да-да, своя российская группа ZZ Top. Точнее, ZZZ Top! Смотрите, какие красавицы!
Да, они тоже забывают таблеточки вовремя принимать, признаю!
Всё, пиндосы, доигрались!
Заявление МИД РФ. Официальное.
В контексте ответных мер на постоянно вводимые США антироссийские санкции и в связи с поступающими запросами о персональном составе нашего национального «стоп-листа», МИД России публикует перечень американских граждан, которым закрыт въезд в Российскую Федерацию на постоянной основе.
Подчеркиваем, что предпринимаемые Вашингтоном враждебные действия, которые бьют бумерангом по самим же США, будут и впредь получать должный отпор. Российские контрсанкции носят вынужденный характер и нацелены на то, чтобы заставить правящий американский режим, пытающийся навязать остальному миру неоколониальный «миропорядок, основанный на правилах», изменить свое поведение, признав новые геополитические реалии.
Россия не ищет конфронтации и открыта для честного взаимоуважительного диалога, отделяя американский народ, который неизменно пользуется у нас уважением, от властей США, разжигающих русофобию, и тех, кто их обслуживает. Именно эти люди вносятся в российский «черный список».
Среди попавших в список - президент США Джо Байден и его сын Хантер, глава Пентагона Ллойд Остин, госсекретарь Энтони Блинкен, кинопродюсер и бывший генеральный директор анимационной студии DreamWorks Джеффри Катценберг, а также актёр Морган Фримен.
Уж и не знаю, как они это все теперь переживут.
P.S. Как выяснилось, мидовские идиоты туда еще и покойного Джона Маккейна внесли.
Называется "Мясо". Премьера состоялась 2 дня назад.
Компания Sony презентовала новый компактный смартфон Sony Xperia 10 IV.
Дисплей - 6", OLED, 1080x2520, 16:9
Платформа - Qualcomm Snapdragon 695 5G
Память - 6/128 ГБ
Карта памяти - есть, совмещенный слот
Камеры - основная 12 Мпикс 1/2.8", OIS; телевик 8 Мпикс 1/4.4", 2x; сверхширик 8 Мпикс 1/4.0"; видео FullHD
Селфи-камера - 8 Мпикс 1/4"
NFC - есть
Аккумулятор - 5000 мАч, зарядка 21 ватт
Размеры - 153 x 67 x 8.3 мм
Вес - 161 г
Цвета корпуса:
Обратил внимание на эту модель только потому, что она по нынешним временам достаточно компактная - прежде всего, по ширине.
Что мы тут имеем? Платформа с очень средней производительностью - примерно 400000 по AnTuTu. Дисплей - хороший, но без повышенной частоты (даже 90 Гц не завезли, пожлобились). Памяти - нормально для среднебюджетника. Вот с камерами как-то грустноватенько. Основная камера с модулем 1/2.8" - ну, не знаю, сейчас матрицы такого размера даже в совсем бюджетниках уже не встречаются. Правда, есть оптическая стабилизация - это плюс. Телевик 2-кратный, причем никакой. (На фиг он вообще там такой нужен.) Сверхширик - никакой, как в совсем бюджетных камерах. Видео - только FullHD. Ну, вроде аккумулятор приличный, но зарядка по нынешним временам довольно медленная.
По характеристикам он похож на OnePlus Nord 2 5G - у того также есть оптический стабилизатор, платформа заметно мощнее (AnTuTu 527333), поддерживается частота 90 Гц, основной модуль 50 Мпикс на матрице 1/1.56", быстрая зарядка 65 ватт. Сколько он стоит? €340-350 в испанском Амазоне за версию 8/128 ГБ. (От 35 тысяч на Яндекс.Маркете.)
Также Xiaomi 11T, а это почти флагман, можно купить за €379 (От 37 тысяч на Яндекс.Маркете.)
Данный же Sony Xperia 10 IV просто по своим характеристикам должен стоить где-то €300. Ну, со скрипом - €350, потому что там Sony написано.
И за сколько он будет продаваться? За €500! Я так и думал, господа, пройдемте. Такие характеристики, да за 500 евро - я вас умоляю! Но зато относительно компактный и Sony написано, этого у него не отнять.
"У этого крайне необычного субфлагмана почти нет недостатков — ниже расскажем о нем подробнее" - из одной заметки.
Я вам так скажу. Солидный человек должен носить солидную одежду, подчеркивающую его высокий социальный статус. Какая-то легкомысленность в этом вопросе - неуместна совершенно!
До 6,6 миллиарда рублей вырос фонд оплаты центрального аппарата Министерства иностранных дел, свидетельствует указ Владимира Путина, появившийся 20 мая на официальном интернет-портале правовой информации.
Детали: Согласно аналогичному указу от 1 ноября 2021 года, фонд оплаты центрального аппарата МИД составлял 3,6 миллиарда рублей.
- С чем связан столь быстрый рост зарплатного фонда МИД России, в указе не уточняется. Рост сложно объяснить желанием компенсировать инфляцию: в апреле годовая инфляция составила 17,83%.
- Новый указ также увеличил количество департаментов министерства с 42 до 43, а число сотрудников центрального аппарата на 50 человек (до 3441 человека).
- С 2004 года центральный аппарат МИД увеличился на 163 сотрудника, а его зарплатный фонд — более чем в 36 раз (со 182 миллионов рублей). Число департаментов увелиличилось на 7. (Отсюда.)
Нет, ну а что? Растут и ширятся связи российской дипломатии, МИД продолжает демонстрировать блестящие успехи на этом поприще. Ну и как не увеличить им зарплату вдвое? Правильное решение, как я считаю!
Мария Захарова под это дело тут же наняла большого специалиста по графической обработке - он даже умеет использовать FaceApp. Результат Мария тут же торжественно опубликовала в своем Инстаграме (на хер запрещенного в Российской Федерации как экстремистско-фашистская организация).
До этого Маша свою физию лимонила сама с помощью примитивных фильтров и получалось как-то так (это тоже она выложила в свой запрещенный Инстаграм).
И вот как она выглядит безо всяких западно-буржуйских ухищрений (селфи она выкладывала в свой Фейсбук).
В Бутырском следственном изоляторе оборудовали майнинг-ферму для добычи криптовалюты. Её разместили в психбольнице учреждения — она известна как «Кошкин дом». Оборудование нашли в палате для буйных больных, сообщил «Московский комсомолец». Выяснилось, что организовать подпольный бизнес решил теперь уже бывший замначальника СИЗО, начальник отдела охраны Андрей Цыганов, который услышал от одного из арестантов, что на майнинге можно хорошо заработать.
Один из сидельцев Бутырки, который знаком с криптовалютой не понаслышке, помог Цыганову подобрать оборудование для майнинга. На территорию затем пронесли мощный компьютер, процессоры, видеокарты и т.д.
Центр майнинга в психушке просуществовал примерно с ноября 2021 года по февраль 2022-го. Позднее кто-то сообщил о майнинг-ферме сотрудникам Федеральной службе исполнения наказаний (ФСИН). После этого началась проверка, результаты которой попали в Следственный комитет.
По данным следователей, затраты СИЗО на электроэнергию из-за майнинг-фермы выросли на 62 000 рублей. Против Цыганова возбудили дело о превышении должностных полномочий. Ему грозит до четырёх лет тюрьмы. (Отсюда.)
Много где были обнаружены всякие подпольные фермы, но в психбольнице тюрьмы - это прям красиво! Это новое слово в науке и технике!
Юрий Великий продолжает зажигать. И он явно заметно растет как пародист. Мало того, что сводки министерства обороны РФ я всегда слушаю исключительно в его исполнении, так он еще и отлично пародирует очень непростых персонажей.
Новая пародия - как заслуженный алкаш Лепс оккупантов в Донецке развлекал. Прям класс!
Колонна автобусов с бойцами "Азовстали". Alessandro Guerra / EPA / Scanpix / LETA
Алексей Федяров задает вполне резонные вопросы по поводу защитников Мариуполя. Я же продолжаю считать, что в скором времени будут показательные "суды" для картинки в зомбоящике, очередных истерик пропагандонов и к радости ватного быдла, а потом бойцов быстренько и очень по-тихому обменяют.
Сергей Шойгу доложил Владимиру Путину, что сдались 2439 человек, заблокированных на «Азовстали».
Отставим эмоции, постараемся понять, что дальше.
Ключевой вопрос - будут ли украинские военные признаны военнопленными или в отношении них начнут уголовно-процессуальные процедуры (допросы, предъявления обвинений, избрания мер пресечения).Пока, по всем объективным признакам, реализуется первый вариант. Боевые мерины в парламенте сколько угодно могут вопить о смертной казни и нацистких преступниках, но решение принимают не они. Поступит указание, будут шамкать в эфирах о неукоснительном соблюдении Женевской конвенции.
Пока они ловят ветер, а в этом процессе лучше перекричать, чем показаться недостаточно усердным. Такая у них работа, относимся с пониманием.
Важнее, что пленные сконцентрированы в одной колонии, распределены по баракам, данных о тотальной следственной работе с ними нет.В качестве ремарки напомню, что на крейсере «Варяг», где пощады никто не желал, погибло 38 нижних чинов и один офицер, а остальная команда из 600 матросов и 30 офицеров по договорённости, достигнутой перед затоплением корабля, без препятствий со стороны неприятеля вернулась в Россию.
Потом родилась легенда о «Варяге», что нормально для военного времени - создавать легенды, но с бойцами «Азова» этот процесс уже пройден и думать российским военным и спецслужбам нужно уже о другом: что с этой легендой делать.
Две с половиной тысячи подготовленных солдат, прошедших боевые действия в составе единой сводной части - это не просто одна очень большая колония.
Это сложнейший для контроля и содержания контингент.ФСИН, с одной стороны, вполне видит в ситуации возможности нового бюджетного финансирования, но с другой - очевидны риски.
Во-первых, пенитенциарная система не предназначена для содержания военнопленных, она для подозреваемых, обвиняемых, подсудимых и осуждённых.
Во-вторых, непонятно, как их содержать. В одном лагере (центре, колонии, неважно), либо разбросать по стране. Очевидные минусы есть у обоих вариантов, а плюсов нет.
В-третьих, как обеспечить соблюдение прав - контроль международных организаций, адвокацию, встречи с родственниками, одежда, питание и масса прочего крайне затруднительного.
В-четвёртых, с учётом некоторых особенностей российской пенитенциарной службы, если пленных отдать ей, очень велика вероятность, что скоро у них появятся средства связи с внешним миром, а это новые фото и повествования.
Отмечу, что в варианте разбросать по стране такие возможности появятся особенно быстро и совершенно неконтролируемо.Тогда кому поручить содержание этих людей? И, кстати, остальных пленных.
Признаков того, что этот вопрос был продуман и алгоритмы наработаны, не наблюдается.
Добавим фактор крайней загруженности следователей Следственного комитета, в возможности которых отработать ещё две с половиной тысячи обвиняемых, как того требуют эфирные орлы в засаленных галстуках, я очень сомневаюсь, и мы увидим отдельный, совершенно автономный цугцванг.Резюмирую.
Следственный путь - это сомнительная игра вдолгую с очевидно негативными перспективами вплоть до новых санкций, это выворачивание изнанки российской правоохранительной системы на весь мир - такого пристального внимания мира к ней ещё не было. И колоссальные расходы.
Соблюдение Женевской конвенции и организация обменов - выход рациональный, но говорить о рацио в государственных решениях я с некоторого времени зарёкся.
Сегодня - день рождения моего любимого певца Джо Кокера, ему бы исполнилось 78 лет. В память о нем.
Joe Cocker - Sorry Seems To Be The Hardest Word.
Компания Cubot выпустила 4-дюймовый смартфон Cubot Pocket. Характеристики, понятное дело, очень так себе, но, впрочем, 4/64 ГБ памяти, есть NFC (!), аккумулятор 3000 мАч. Стоить будет совсем недорого.
Предлагают его прислать поизучать. Вот я и хочу понять - такой смартфон сейчас кому-то может быть интересен?